1 / 5
Factory Price Atex Approved LNG Light Explosive Gas Station Lighting Residential Industrial Filed LED Explosion-Proof Light
Marking ATEX:
II 2 G Ex nr IIC T6 GC
Il 2 D Ex tb IIIC T80 Db Ip66
Marking IECEX:
Ex nr IIC T6 GC
Ex tb IIIC T80 Db Ip66
Rating: IP 66
| Item | Power | Color Temp | Voltage | Lumens | Warranty |
|---|---|---|---|---|---|
| EX-50W Q1YZDA | 50W | 2200K-7000K | AC100-277V | 7,000 | 5 Years |
| EX-100W Q1YZDA | 100W | 14,000 | |||
| EX-150W Q1YZDA | 150W | 21,000 | |||
| EX-200W Q1YZDA | 200W | 28,000 | |||
| EX-300W Q1YZDA | 300W | 42,000 |
* Q1,Q2=Product code | Y=D/N (Dimmable/Non) | Z=CCT | D=Beam angle (D40/D60/D90/D120)
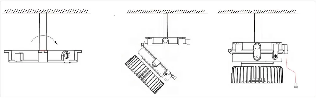
No.1 Bracket Ceiling / No.2 Wall Mounting
No.3 Pole Mounting






| Item | Qty/Carton | Size (mm) | N.W (KG) | G.W (KG) |
|---|---|---|---|---|
| Q1 | 1 | 530*520*380 | 10.5 | 12.5 |
| Q2 | 1 | 512*432*345 | 12.6 | 15.0 |
Sea / Air / Rail Transportation / International Express